Vinahardware - Các loại tay nâng cửa tủ
Cửa tủ đặc biệt các sản phẩm cánh cửa tủ bếp, không gian chật do đó các thiết kế cánh cửa lật mở yêu cầu mở dựng đứng, hoặc nằm ngang là cần thiết.
Trong nội dung này Vinahardware chia sẻ một số phụ kiện phù hợp trong thiết kế cánh cửa tủ mà từ phụ kiện đơn giản đến phức tạp. Mỗi dòng sản phẩm đều có những đặc tính ưu việt riêng.
___________________________
Có thể bạn quan tâm
>>> Nhận gia công hàn khung bàn ghế, lưới, các chi tiết pát sắt
>>> Nhận gia công đột dập các chi tiết vật tư xây dựng, phụ kiện ngành gỗ
>>> Đúc áp lực là gì? Các sản phẩm nào có thể đúc áp lực?
____________________________
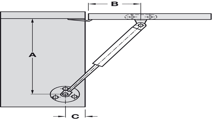
1. Tay nâng cửa tủ thiết kế bằng piston (ben hơi) tên tiếng Anh là Gas spring lid stay
Về mặt cấu tạo của ben hơi loại này cho cửa tủ là loại thường mở, vận hành theo nguyên lý pistond dầu đóng và mở chậm. Có nghĩa ben hơi bình thường là ở trạng thái dài tối đa, khi có tác dụng lực sẽ ngắn lại.
Ben hơi ngày càng phổ biến trong thiết kế các cánh cửa tủ, bởi các lý do: dễ dàng lắp đặt, có khả năng chống đẩy ổn định và nhẹ nhàng, trợ lực khi mở.

Yêu cầu với ben hơi cho mỗi cánh cửa sẽ khác nhau, tùy thuộc cánh cửa tủ và trọng lượng cánh mà lựa chọn ben hơi có khả năng tải trọng không giống nhau. Thông số chịu lực trên ben hơi là Newton (N), chuyển đổi tương đối ra kg để biết tải trọng mà ben hơi chống đỡ. Các thông số trên ben hơi thường là: 60N, 80N, 100N, 120N, 220N...và các chiều dài 160mm, 270mm, 330mm...
2. Tay nâng loại giò gà:
Thiết kế hình dáng như giò gà nên tên gọi cũng hình tượng như thế. Các loại này bao gồm loại cơ cấu đơn giản bật chống, hoặc loại tích hợp khả năng trợ lực đóng chậm cánh cửa chống va đập. Ưu điểm loại này là dễ dàng lắp đặt và sử dụng, độ bền cơ học cao.
Đối với loại tích hợp cơ cấu đóng chậm, tùy thuộc vào trọng lượng cánh cửa cho khả năng chịu tải khác nhau. Nếu cửa quá nặng mà tải trọng phù hợp không đáp ứng, chức năng đóng chậm sẽ không hiệu quả.

Tay nâng chống cửa giò gà đóng chậm
3. Tay giữ cửa mở úp:
Cánh cửa mở lật úp hay gọi khác cửa mở lật ngửa. Tương tự như cánh cửa hậu xe tải có thành phần cửa khi mở ngửa ra và dùng dây xích giữ lại. Trong nội thất cơ cấu giò gà thường được áp dụng nhờ vào tính thẩm mỹ cũng như vận hành ổn định.
Có thể lựa chọn sản phẩm inox dùng cơ cấu trượt, đối với mối cánh cửa thì đoạn trượt là dài ngắn khác nhau.

Tay nâng cây chống cho cửa mở lật úp

Tiếng Việt
English